本文转载自:https://blog.levas.top/2020/10/30/云筏容器云网络测试/
摘要
本文主要测试云筏容器云的网络情况,包括国内三网延迟,国外路由,延迟,丢包率。会重点关注连接国外服务器的延迟和丢包。同时提供和容器云同直辖市的阿里云轻量服务器的测速作为对比。
简介
云筏容器云目前节点在世纪互联机房。云筏表示海外流量全部走GIA线路,出口稳定性值得一测。同时,世纪互联机房的带宽费很高,也有必要关注一下流量价格,这一点需要等待云筏信息。
此外云筏容器云通过三级域名cname来转发内网的容器流量(env-xxxxxxx.paas.cloud.ac.cn)。在入口处对端口转发做了负载均衡来提高可用性。支持80端口和443端口,想要建站猜测要备案,具体情况请以云筏官方信息为准。除三级域名转发外,还支持为容器绑定一个ipv4,下文会针对该ipv4地址单独测试。
测试时容器的上行带宽限制为100M。容器选择ubuntu18.04镜像。

国内三网测速
superspeed测速
- 借助工具superspeed.sh进行三网测速。
bash <(curl -Lso- https://git.io/superspeed)

可以看到,上行带宽接近我容器的限制,差不多跑满了。
作为对比,提供一个我的上海阿里云学生轻量(上行限5M)测速图:
网站测速

发起ping的地区基本都是绿的。
大陆以外地区测速
各地traceroute
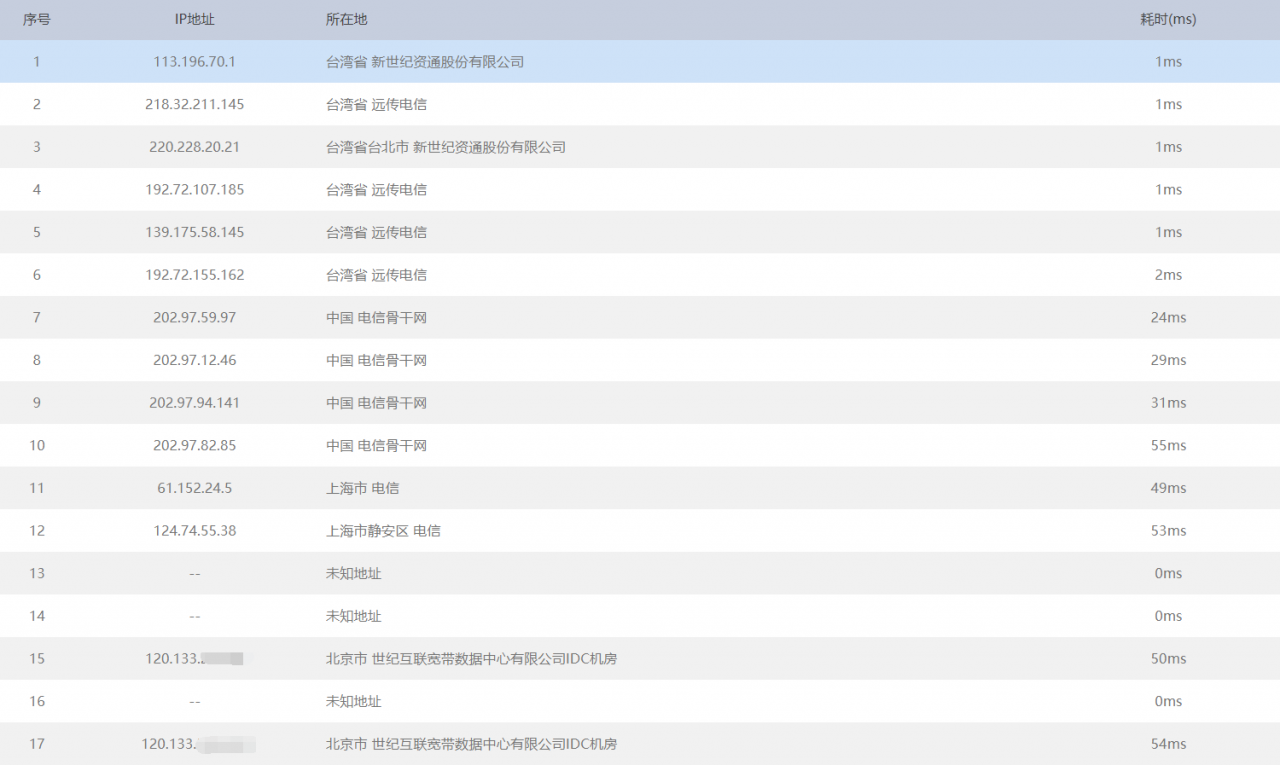
- 测试借助站长工具-路由追踪完成,各图片traceroute起始ip都在大陆以外地区,具体信息见图片:
- 需要注意的是,这里末端ip虽然显示是北京电信,但感觉是广播到上海的ip,后面的测试延迟也都能印证这一点。我对此不太了解,不发表过多意见。
- 除了通过外部traceroute容器云以外,每张图片下面还有从容器云向外traceroute的路由图。
小结
海外双向ping可以发现,由容器云主动发起的连接,流量全部走gia;海外服务器发起的连接,流量走163。
个人测试
traceroute
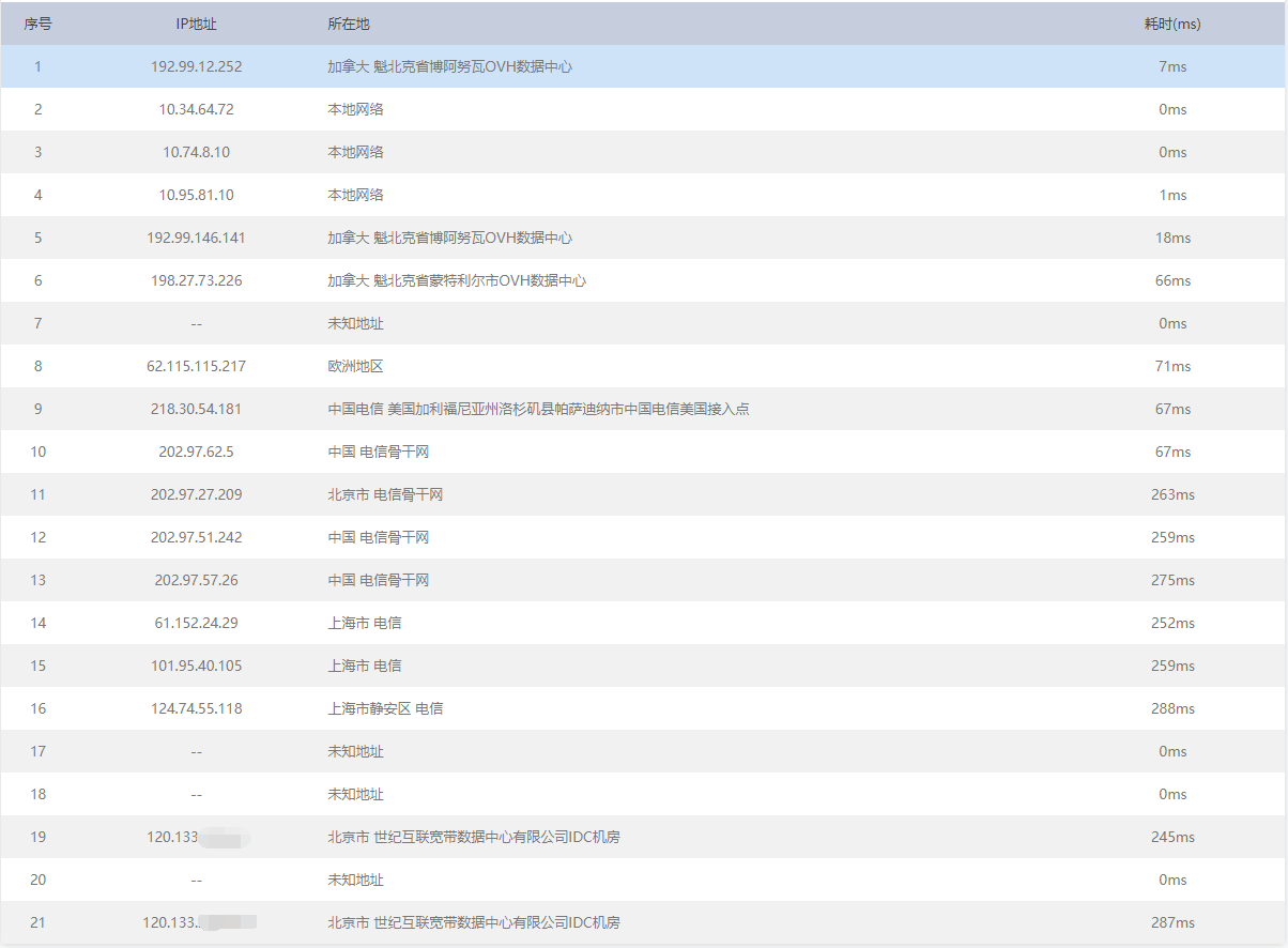
- 我的hz德国vps的traceroute 容器云结果:
从德国到达英国,然后进入上海电信,汇入世纪互联机房。
- hz德国vps traceroute 阿里云上海轻量作为对比:
从欧洲出口后依次到达北京联通,上海联通,再到达阿里云
- 补充一个do 加利福尼亚traceroute 容器云结果:
在上海电信入境,然后进入世纪互联机房
icmp ping
- hz德国ping 容器云
PING env-*.paas.cloud.ac.cn (120.133.*.204) 56(84) bytes of data. 64 bytes from 120.133.*.204 (120.133.*.204): icmp_seq=1 ttl=47 time=296 ms ........ 64 bytes from 120.133.*.204 (120.133.*.204): icmp_seq=100 ttl=47 time=296 ms ^C --- env-*.paas.cloud.ac.cn ping statistics --- 101 packets transmitted, 97 received, 3% packet loss, time 100111ms rtt min/avg/max/mdev = 292.241/297.762/313.664/4.642 ms - hz德国ping 阿里云上海轻量,作为对比:
PING 47.103.*.* (47.103.*.*) 56(84) bytes of data. 64 bytes from 47.103.*.* (47.103.*.*): icmp_seq=1 ttl=44 time=255 ms ........ 64 bytes from 47.103.*.* (47.103.*.*): icmp_seq=165 ttl=44 time=267 ms ^C --- 47.103.*.* ping statistics --- 165 packets transmitted, 164 received, 0% packet loss, time 164212ms rtt min/avg/max/mdev = 215.725/255.905/275.815/13.962 ms - 补充一个do加利福尼亚 ping 容器云结果:
PING env-*.paas.cloud.ac.cn (120.133.*.205) 56(84) bytes of data. 64 bytes from 120.133.*.205 (120.133.*.205): icmp_seq=1 ttl=48 time=168 ms ........ 64 bytes from 120.133.*.205 (120.133.*.205): icmp_seq=53 ttl=48 time=168 ms ^C --- env-*.paas.cloud.ac.cn ping statistics --- 54 packets transmitted, 47 received, 12% packet loss, time 53157ms rtt min/avg/max/mdev = 167.359/167.907/168.460/0.224 ms
tcp ping
- hz德国tcpping结果
1.这里响应ip出现了跳变现象,不知是什么情况,跳变现象发生时,延迟会波动且出现丢包。
不跳变时延迟很稳定。
2.云筏解释ip跳变现象:
我们两台物理机做负载均衡高可用 这两个IP会先去到VIP网关,然后根据可用性分配到两台LB的其中一台 最后LB再端口转发到内网对应的机器里面所以跳变是世纪互联内网的负载均衡切换导致的。
作为对比,tcpping 我的阿里云上海轻量的结果:显然延迟不稳定
- 补充一个 do加利福尼亚 tcpping容器云结果:
独立ipv4
容器云面板显示有独立ipv4功能,但是申请失败,无法测试。
据云筏表示,已准备提供独立ipv4,但暂未拿到icp证,不开放。独立ipv4的网络情况需要等待容器云正式上线后才能知晓。
出口带宽
容器云作为文件服务器
- 目的:看看到海外访问容器云的带宽能达到多少
- 测试环境:
- 容器部署nginx,以一个opsx镜像(871MB)作为大体积文件。nginx配置:
server \{ listen 80; location / \{ root /home/test; autoindex on; \} \} - 下载机的服务商与地域:hz德国 digitalocean加利福尼亚
- wget单线程下载 axel多线程。使用axel是为了尽可能抢占到最大的带宽
- 没开BBR。gia应该不需要开BBR。
- 容器部署nginx,以一个opsx镜像(871MB)作为大体积文件。nginx配置:
- 测试路由:均为163
- 测试结果
wget单线程(avg.) axel 64线程(avg.) hz德国(136.243.0.0) 1.11MB/s 1.14 MB/ do加利福尼亚(64.225.0.0) 1.12MB/s 懒得测了 个人感觉:很显然出口带宽被限制了,单线程能跑到1.11MB/s,axel多线程理所应当有显著提高。无法跑到更高的带宽上,是云筏限制或是上游运营商限制不得而知。
海外从容器云下载大文件能稳定跑到1MB/s 以上,还是挺不错的。
容器云作为下载机
- 测试环境:
- hz德国vps作为文件服务器,部署相同的镜像(871MB)
- 容器云作为下载机
- wget单线程 axel多线程。
- hz德国vps开了BBR。理由:很早之前就开了。
- hz德国vps 上行带宽限制为100M。
- 新增一个hzG口拍卖机作为文件服务器
- 容器云到hz vps的测试路由:
- 容器云到hz拍卖机的测试路由:
- 测试结果:
文件服务器上行带宽 wget单线程(avg.) axel 64线程(avg.) hz vps(136.243.0.0) 100M 9.54MB/s 不测,单线程快跑到了带宽上限没有意义 hz 拍卖机(144.0.0.0) 1000M 6.40MB/s 9.3MB/s - 评价
目测限制了从海外入境的带宽,限到了100M。
总结
大陆以外地域的网络情况
- 容器云出口到海外ip走GIA网络,所以能高速拉海外的文件,下载速度很可能被限制到100M。没测走GIA到海外的带宽。
- 海外入容器云的路由为163网络,从海外下载容器云文件速度略高于1MB/s。没测走163到容器云的带宽。
大陆网络情况
- 上行限制为100M,多地测速接近了100M。
- 下行限制大于500M,多地测速超过了500M。少数节点跌到了400M。
海外双向ping可以发现,由容器云主动发起的连接,流量全部走gia;海外服务器发起的连接,流量走163。
最后一点
- 测速次数较少,结果仅供参考。
工具汇总
- 测试使用的工具:ping,traceroute,tcpping
- 安装tcpping 及使用
sudo apt-get install tcptraceroute wget http://www.vdberg.org/~richard/tcpping && chmod 755 tcpping ./tcpping www.baidu.com - 三网测速脚本superspeed.sh
bash <(curl -Lso- https://git.io/superspeed) - 站长工具-路由追踪








